
Ein mobiles Tarnzelt
Dieses mobile Tarnzelt ist eine Konstruktion von Telse Meyer und Dirk Blumenberg (Pidder-Lüng-Weg 30, D-22149 Hamburg). Sie haben es freundlicherweise für den privaten Nachbau freigegeben, aber nicht zur kommerziellen Verwertung.

Vor Jahren wurde in einer Zeitschrift ein Tarnzelt mit integriertem Sitz vorgestellt, dessen Position man während des Ansitzens und ohne auszusteigen verändern konnte. Eine fabelhafte Idee, doch waren die Mängel in der Handhabung offensichtlich: Es bestand nämlich aus vielen leicht verlier- und verwechselbaren Einzelteilen und mußte mit etlichen Schrauben aus klappernden Winkelschienen zusammengesetzt werden. Der Aufbau im Freien bei Dunkelheit und/oder Kälte dürfte nicht die reine Freude sein.
Eine Neukonstruktion mußte also her, stand auch bald darauf für einen ersten Test im Wohnzimmer und hat sich inzwischen auf vielen Reisen glänzend bewährt. Zusammengepackt ist das Tarnzelt ein flacher, langer Holzkasten (80 x 24 x 13 cm), in dem das gesamte Zeltzubehör einschließlich Sitz, Stativ und Kinoneiger untergebracht ist und der mit einem ausklinkbaren Schulterriemen getragen wird. Zum Aufbau klappt man das rechte Seitenteil zusammen mit dem Rückteil (beide gelenkig über zwei Scharniere miteinander verbunden) und das linke Seitenteil aus dem Kasten heraus und schließt den so entstehenden Rahmen mit einem langen Splint zusammen.
Dieser Basisrahmen ist das stabilisierende Element des Zeltes, in das die zweiteiligen Stangen (Besenstiele) und das Stativ eingesteckt werden und auf dem das Sitzbrett ruht.
Wenn das Tarnzelt länger stehen bleiben soll ist es ratsam, unter dem Zelttuch ein Plastikplane oben über den Rahmen zu spannen (siehe Foto unten). Denn sonst hängt das Zelttuch oben etwas durch, und nach einem Regen tropft Wasser in schöner Regelmäßigkeit auf den Kopf des Naturfotografen.
Das Tarntuch hat drei Sehschlitze. Für den Ein- und Ausstieg kann es auf der Rückseite durch einen langen Reißverschluß geöffnet werden. Drei umlaufende Bänder gestatten das Befestigen weiteren Tarnmaterials. Die Position der Griffschlitze ist so gewählt, daß sich das Zelt mit der Kamera beim Tragen etwa im Gleichgewicht befindet. Dadurch sind Ortsveränderungen auch über größere Strecken mühelos möglich.
Auf und Abbau erfordern weder Schraube noch Werkzeug. Alles ist steckbar ausgeführt oder wird durch Splinte gehalten. Ohne Hast steht das Zelt daher in weniger als vier Minuten fix und fertig aufgebaut da.
Verläßt man seinen Ansitz für einige Zeit, sollte die Sitzbank mit ein paar schweren Steinen belastet werden. Das Tarnzelt trotzt dann selbst stürmischem Wetter überraschend gut.
Wenn Sie es nachbauen wollen, so finden Sie hier die technischen Daten:
Technische Daten: (alle Maße in mm). Maße aufgebaut: LxBxH 900 x 800 X
1200, zusammengelegt: 140 x 800 x 240. Gewicht komplett
ca. 9 kg.
Basisrahmen: 10 mm Sperrholz (leichtes Material). Kastenbretter: 240x780 (1), 780 x130 (2), 140x240 (2). Seiten und Rückteil: 775x218 (links), 765x218 (rechts), 762 x218 (hinten). Holzleisten: 14 x 30 (insges. ca. 4 rn). Ca. 50 Holzdübel 6 mm, 2 Schloßschrauben M6 30 mm, 2 große Unterlegscheiben, 2 selbstsichernde Muttern M6,
8 kräftige Scharniere z.B. 140 mm, ca. 60 Senkkopfschreauben M4 15 mm, ebensoviele große Unterlegscheiben und Muttern M4, 3 mm Messingdraht (insges. ca. 1 rn), Holzleim Ponal wasserfest o.ä. - Kasten (A) auf Stoß verleimen und alle Klebnähte im Abstand von ca. 70 mm mit Holzdübeln verstärken (Dübel einleimen). Linkes Seitenteil des Kastens um 13 mm, rechtes um 26 mm zurücksägen (A). Seitenteile des Rahmens über Scharniere (C4) mit Kiste verschrauben. Muttern nach außen. Darauf achten, daß sich beide Seitenteile sauber in den Kasten einklappen lassen. Rückteil über Scharniere (C5,6) mit Seitenteilen verschrauben. Überstehende Gewindeteile absägen. Scharnierbolzen der beiden linken hinteren Scharniere (CS) entfernen, so daß sich Rahmen öffnen läßt. Die beiden Stützen (CI) (Leiste 14x30, ca. 300 lang), die ein seitliches Wegknicken des Rahmens verhindern, drehbar mit den Schloßschrauben am oberen Kastenbrett befestigen (Bohrung 6 mm, A3). Leisten 14x30, ca. 600 lang, schlüssig mit Oberkante auf die Seitenteile innen kleben (C2). Diese beiden Leisten haben folgende Funktionen:
1. Auflage Sitzbrett, 2. Bildung der Traggriffe und 3. Anschlag für die beiden Stützen. Besonders 3. verdient aus Stabilitätsgründen Beachtung. Die Leisten so aufsetzen, daß beide Stützen beim Zusammenschluß des Rahmens spielfrei unter ca. 45 Grad gegen die Leistenenden drücken (C). Es ist sogar vorteilhaft, wenn sich der Rahmen beim Zusamrnenschluß geringfügig verspannt. Holzleisten 14x30, ca 500 lang schlüssig mit Unterkante auf der Rückseite innen kleben (C3). Sie verhindert Einsinken bei lockerem Boden.
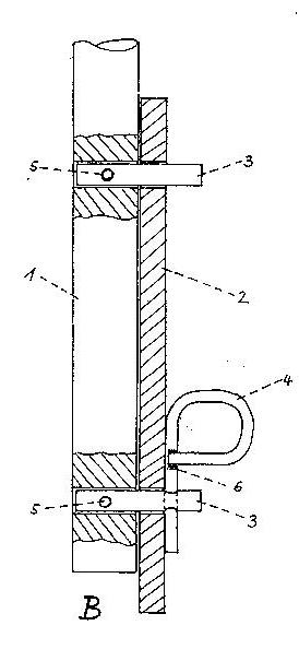
Aus 3 mm Messingdraht langen Splint herstellen (wie B4), der zum Schließen des Rahmens von oben durch die beiden geöffneten Scharniergelenke gesteckt wird. Aussparungen für die Leisten in das rechte Seitenteil unten und in das Rückteil oben einsägen. Löcher für die vorderen Zeltstangen und das Stativ einsägen (Al). Zur besseren Sicht Stativloch ca. 70 seitlich versetzen. Öffnungen knapp bemessen. Handgriff- schlitze schlüssig mit Leistenunterseite einsägen.
Sitzbrett: 16 mm Tischlerplatte 765 x 215, Holzleisten 14 x 14 x 210 (2), Holzleisten so aufleimen, daß das Brett bei seitlicher Verschiebung nicht von der Auflage abrutscht. Beachten, daß sich der Rahmen nach hinten etwas verjüngt.
Zeltstangen: Besenstiele. Für Zelthöhe 1200: Unterer Teil 700, oberer 500
lang. Messingrohr, Wandstärke 0,5, Durchmesser entspr. Besenstiel (Länge der
Messingrohre 150 (4). Aluminiumrohr, Durchm. außen 8, Lange 40 (4). Kräftige
Rundkopfholzschrauben ., Kopfdurchm. ca. 10 (2). Messingrohre 60 tief auf die
oberen Stangenteile schieben und mit Messingschräubchen sichern,
Rundkopfschrauben (D2) in die unteren Teile der beiden vorderen Stangen (Dl)
schrauben (Schraubloch vorbohren!), Kopf etwas vorstehen lassen. Die Köpfe
ragen in zwei entsprechend große Löcher auf der Kastenunterseite (A2) und
verleihen den Stangen besseren Halt. Die beiden hinteren Stangen (BI) werdet
seitlich von außen an die Rahmenbretter (B2) angesetzt. Dazu werden je zwei aus
den unteren Stangenteilen herausragende Aluröhrchen (B3) durch entsprechende
Löcher in den Seitenteilen gesteckt und mit kurzen 3 mm -Messingsplint (B4) am
unteren Röhrchen arretiert. (B6 = Lötstelle, Lötzinn). Aluröhrchen mit 3 mm
-Messingstiften (B5J an Stangen sichern.
Statt Besenstiele kann man auch dünne Alurohre, und oben vier starke Drähte
als 'Dachrahmen' nehmen (wie auf den Fotos zu sehen), die an den Enden jeweils
fünf bis sechs Zentimeter umgebogen sind, und von oben in die vier Alurohre
eingeführt werden. Man kann die Alurohre zum besseren Transport auch in der
Mitte teilbar machen. Die vier Drähte oben als 'Dachrand' verhindern ein
Durchhängen des Zeltes.
Zelttuch: Olivgrünes Baumwolltuch. Tuch muß stramm sitzen. Zunächst Tuchbahn um die Zeltstangen legen und Reißverschluß einnähen. Dann Dach aufnähen. Sehschlitze einschneiden, vernähen oder verkleben und Stoff aufsetzen. Imprägnieren.
Zum Schluß: Alle Ecken und Kanten rundschmiergeln, Flächen glätten. Holzteile beizen und mit flüssigem Holzwachs o.ä. behandeln. Sehr zu empfehlen: Splinte mit kurzen Nylonseilen unverlierbar an Rahmen und Stangen befestigen.
Zusammenlegen des Zeltes: Sitzbrett mit den Leisten nach oben in den Kasten legen, darauf die Zeltstangen und darauf das Stativ. Zuletzt wird das Tuch verstaut und die Rahmenbretter eingefaltet (C). Man kann es so transportieren oder in einen Seesack stecken.




|
|
|
|
|
|
|
|
|
|
|
|
Dieses stabile Zelt ( 9 kg ) ist am besten geeignet, wenn man mit dem Auto unterwegs ist.
Wenn Sie ein Tarnzelt nicht
selber bauen wollen, oder ein leichtes ( 1.7 - 3.0 kg) für
Flugreisen suchen, dann finden Sie eine große Auswahl ( 6 - 8 verschiedene)
im Katalog von ISARfoto Bothe, Münchener Str. 1, D-82057 Icking,
Tel. 08178 -1311, Fax 08178 -1314
* * * * *